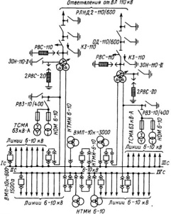
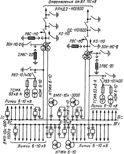
Схема первичная — основа архитектуры электроснабжения объекта
Первичная схема — это однолинейное или развернутое графическое отображение всех элементов электросети с указанием их электрических соединений. Она описывает структуру включения трансформаторов, выключателей, разъединителей, шин, источников питания, приборов учета и других элементов. По сути, это паспорт всей системы энергоснабжения, который используется на всех этапах: от согласования проекта до строительства, наладки и эксплуатации.
Мы разрабатываем схемы как для новых объектов, так и при реконструкции или расширении существующих сетей. Схема первичная оформляется в составе проектной и рабочей документации (раздел ЭМ, ЭТ, ЭО) и может быть адаптирована под любой уровень напряжения — от 0,4 до 220 кВ.
Когда требуется первичная схема
-
проектирование ПС, КТП, РП, ГРЩ, ВРУ;
-
подключение к внешним сетям (АЖК, KEGOC, частные энергосбыты);
-
разработка проекта электроснабжения жилого комплекса, ТЦ, завода;
-
модернизация или реконструкция существующих схем подключения;
-
интеграция РЗА, АВР, АСКУЭ, телемеханики и других автоматизированных систем.
Что включает схема
-
однолинейная схема соединений с указанием номиналов оборудования;
-
обозначение шин, цепей питания, заземляющих элементов, резервных линий;
-
указание трансформаторов тока и напряжения, точек учета;
-
отображение коммутационной и измерительной аппаратуры;
-
определение категории надёжности питания;
-
ссылочная информация на вторичные цепи и оборудование.
Какие объекты мы обслуживаем
-
распределительные подстанции 6–220 кВ;
-
открытые и закрытые РУ, трансформаторные подстанции, ОРУ;
-
здания с отдельными ВРУ и ГРЩ;
-
производственные и энергетические комплексы (ГПЭС, СЭС, ТЭЦ);
-
торговые центры, жилые комплексы, логистические и агрообъекты.
Особенности наших схем
-
точность и читаемость — все элементы промаркированы и обозначены;
-
актуальность — используем обозначения по ГОСТ и ЕСКД;
-
совместимость — предоставляем схемы в DWG, PDF и на бумажном носителе;
-
увязка с другими разделами проекта (ЭМ, ЭО, РЗА);
-
подготовка схем в цифровом формате для BIM-моделирования, ETAP, Revit.
Преимущества работы с нами
-
опыт проектирования для объектов KEGOC, АЖК, промышленных потребителей;
-
разработка и согласование схем с учётом реальных условий и существующей сети;
-
сокращение времени согласования за счёт точности и полного комплекта документации;
-
сопровождение проекта на всех этапах: от проектирования до пуско-наладки;
-
возможность доработки схемы после внедрения системы РЗА, учета и АВР.

